TPS50.1000 DECK
ΠΡΟΦΙΛ ΛΑΜΑΡΙΝΑΣ ΣΥΜΜΕΙΚΤΩΝ ΠΛΑΚΩΝ
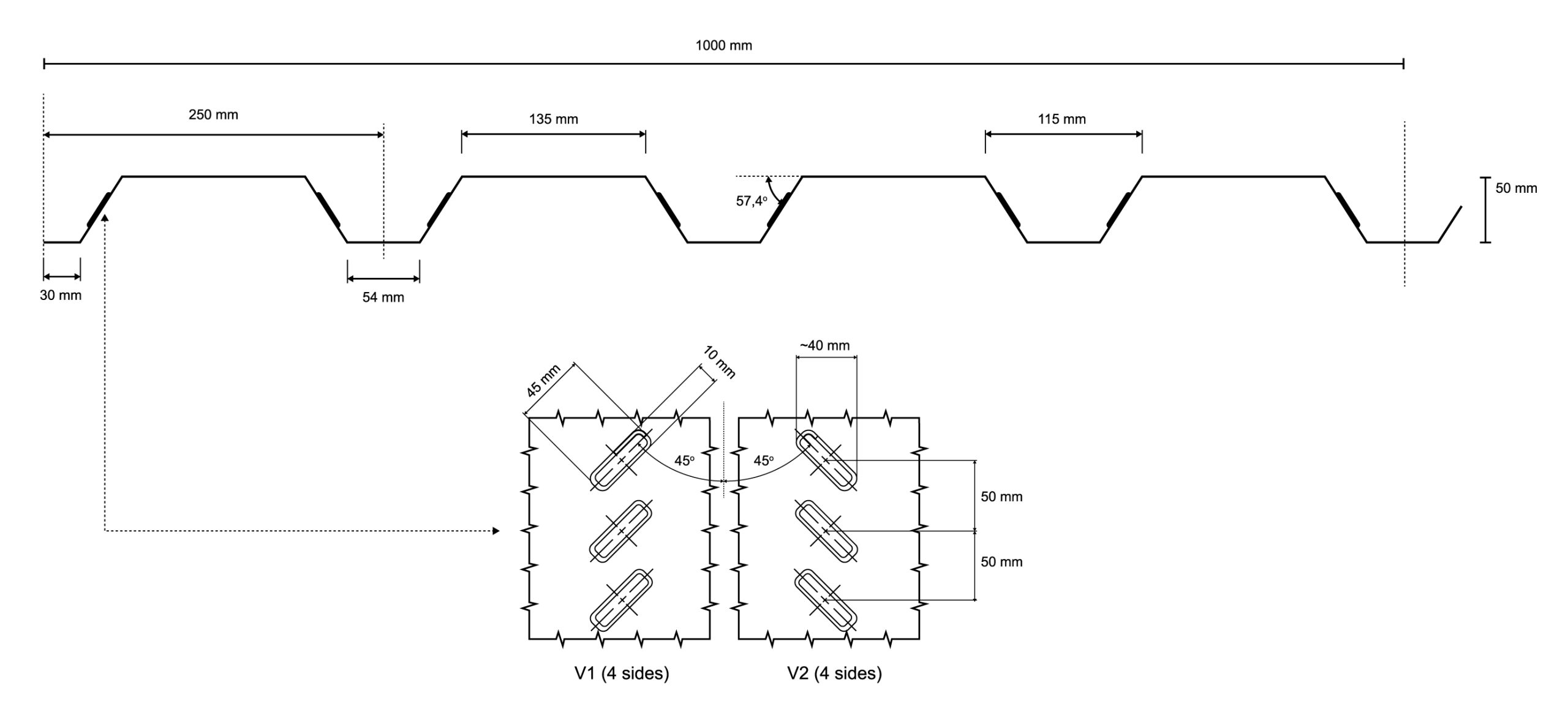
Το TPS 50.1000 DECK είναι ένα γαλβανισμένο προφίλ τραπεζοειδούς διατομής, πιστοποιημένο και ειδικά διαμορφωμένο με εγκάρσιες τομές ώστε να συνεργάζεται με το ελαφρώς οπλισμένο σκυρόδεμα και να δρουν μαζί ως ενιαία σύμμεικτη πλάκα.
Βασικά του πλεονεκτήματα είναι η μείωση του χρόνου και του κόστους κατασκευής, λειτουργεί ως μόνιμος μεταλλότυπος αποτρέποντας έτσι τη χρονοβόρα χρήση ξυλότυπου ενώ παράλληλα, λόγω των υψηλών αντοχών του, γεφυρώνει μεγάλα ανοίγματα περιορίζοντας στο ελάχιστο τις απαιτούμενες διαδοκιδώσεις.
ΠΡΟΔΙΑΓΡΑΦΕΣ
ΠΙΝΑΚΑΣ ΥΠΟΛΟΓΙΣΜΟΥ ΠΛΑΚΑΣ 0.75
ΠΙΝΑΚΑΣ ΥΠΟΛΟΓΙΣΜΟΥ ΠΛΑΚΑΣ 1.00
ΠΙΝΑΚΑΣ ΥΠΟΛΟΓΙΣΜΟΥ ΠΛΑΚΑΣ 1.25
ΠΡΟΔΙΑΓΡΑΦΕΣ
| ΠΡΟΔΙΑΓΡΑΦΕΣ | |
|---|---|
| (EN 10142, EN 10147, EN 10143) | |
| ΠΑΧΗ ΛΑΜΑΡΙΝΑΣ (mm) | 0.75 / 1.00 / 1.25 |
| ΜΗΚΟΣ (±5mm) | 200 - 15.000 |
| ΕΠΙΨΕΥΔΑΡΓΥΡΩΣΗ (gr/m2) | 275 |
| ΧΑΛΥΒΑΣ | S320 |
| ΩΦΕΛΙΜΟ ΠΛΑΤΟΣ (mm) | 1.000 |
ΛΗΨΗ ΦΥΛΛΑΔΙΟΥ


